PROJETOS - Especialidades
Os projetos de especialidades são elaborados depois do projeto de arquitetura e poderão ser os seguintes:
- Pág.
-
PROJETO DE ESTABILIDADE
Calculam-se as secções de todos os elementos estruturais resistentes (betão e aço) necessários a uma construção sólida e estável. Desenham-se lajes, vigas, pilares e sapatas.
-
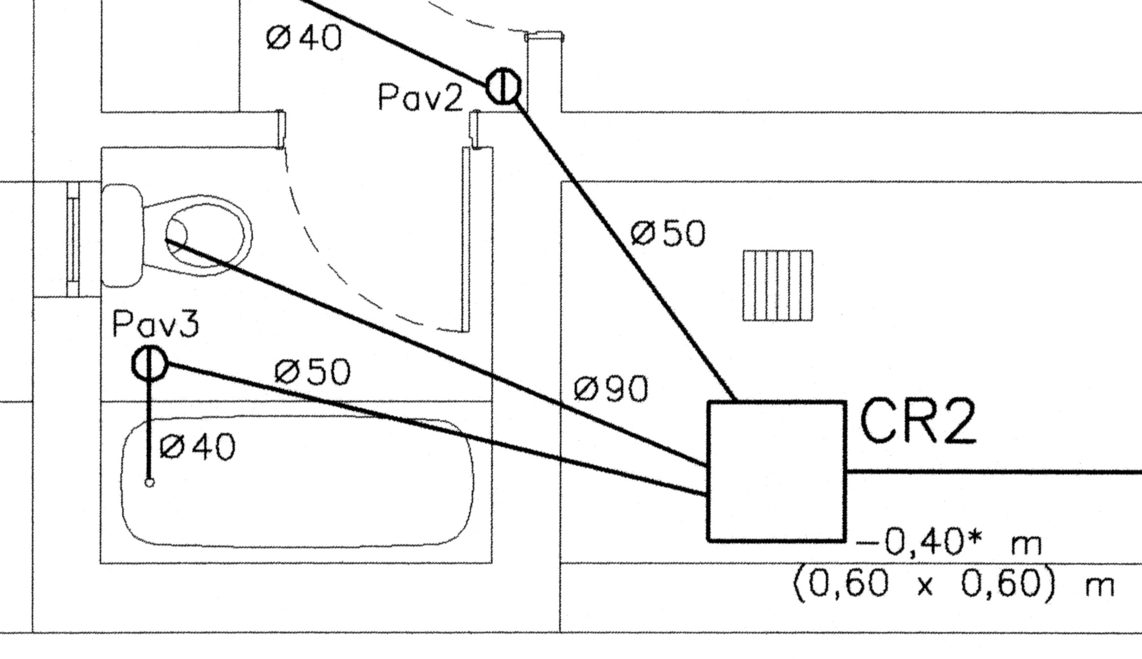
PROJETO DE ÁGUAS RESIDUAIS PLUVIAIS E DOMÉSTICAS
Desenham-se as redes de tubagens e acessórios para águas pluviais e domésticas (vulgo esgotos), assim como o cálculo dos diâmetros necessários ao bom escoamento dos fluidos.
-
PROJETO DA REDE DE ABASTECIMENTO DE ÁGUA
Desenham-se as redes de tubagem e acessórios para abastecimento de água pública e/ou privada, assim como o cálculo dos diâmetros ao bom escoamento dos fluidos.
-
ESTUDO DO CONFORTO TÉRMICO (CERTIFICAÇÃO ENERGÉTICA)
Analisa-se a resistência térmica da envolvente construtiva de espaços úteis, calculam-se as necessidades térmicas para as estações de Inverno e Verão, o aquecimento de águas sanitárias e eventuais contribuições de energias alternativas. O cálculo final resulta na classificação energética.
-
PROJETO ACÚSTICO
Analisa-se o meio envolvente e a própria construção nos seus aspetos acústicos, assim como os procedimentos aconselháveis na obra.
-
PROJETO DE ELETRICIDADE, TELECOMUNICAÇÕES E GÁS
Desenham-se as redes elétricas, de telecomunicações e do abastecimento de gás.
-
PROJETO DE SEGURANÇA CONTRA INCÊNDIO
Projetam-se todos os sistemas associados à evacuação, prevenção, deteção e ataque a incêndios. A maior ou menor exigência e complexidade dos sistemas deriva da classificação de risco dos edifícios, que vai da 1ª à 4ª categoria.
-
PROJETO AVAC
Projetam-se os circuitos e equipamentos associados ao aquecimento, ventilação e ar condicionado. A certificação energética está também associada a esta especialidade.
-
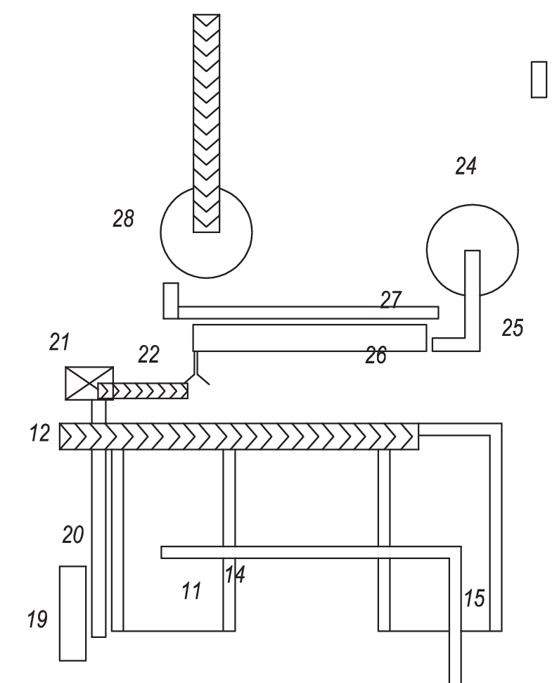
PROJETO DE INSTALAÇÕES ELETROMECÂNICAS
Desenham-se os equipamentos, máquinas, mecanismos e afins, que integram um edifício, e que são essenciais ao seu funcionamento.
-
PROJETO DE ARRANJOS EXTERIORES OU PAISAGISMO
Idealizam-se e concebem-se as áreas envolventes dos edifícios ou trabalham-se paisagens a uma macro escala. Esta especialidade torna-se mais relevante à medida que existe uma maior área descoberta de uma propriedade.
